1.1.防火門監控系統設置必要性
隨著經濟、科技的迅猛發展,城市人員密集度不斷提高,在火災發生時,迅速隔離火源,有效控制火勢范圍,能為撲救火災及人員的疏散逃生創造良好條件。因此,防火門等防火分隔物被廣泛應用于建筑工程的消防設計中,但因其設計不合理、選型不恰當、監控不到位等原因,使防火門不能充分發揮其隔離作用。故而實時監控并控制防火門的工作狀態,是阻止火勢蔓延和煙氣擴散的重要措施,因此防火門監控系統應運而生。
防火門監控系統是消防安全領域的新型產品,它集工業計算機技術、通訊、抗電磁干擾、數字傳感器技術和工業現場總線控制技術于一體的智能化系統,可以對防火門的工作狀態進行24小時實時自動巡檢,對處于非正常狀態的防火門給出報警提示。在發生火情時,該監控系統自動關閉防火門,為火災救援和人員疏散贏得寶貴時間。
在國家強制性規定的支持下,設計安裝防火門已成為建筑工程領域必不可少的一部分,對防火門監控系統的市場需求量日益增大,逐漸呈現出供不應求的市場關系。因此,此系統具有廣闊的市場前景,并正在成為消防領域中的朝陽產業。
1.2.防火門監控系統設計依據
中華人民共和國國家標準 GB29364-2012 《防火門監控器》
中華人民共和國國家標準 GB50116-2013《火災自動報警系統設計規范》
中華人民共和國國家標準 GB50016-2014《建筑設計防火規范》
中華人民共和國公共安全行業標準 GA93-2004《防火門閉門器》
1.3.AFRD防火門監控系統簡介
AFRD防火門監控系統集中控制其各終端設備即電動閉門器、電磁釋放器的工作狀態,顯示監測疏散通道防火門的開啟、關閉及故障狀態,實時顯示終端設備開路、短路等故障信號。系統采用消防二總線將具有通信功能的監控模塊相互連接起來,當終端設備發生短路、斷路等故障時,防火門監控器能發出報警信號,能指示報警部位并保存報警信息,最大限度的保障了電氣安全的可靠性。
AFRD防火門監控系統采用集中供電方式,現場監控模塊采用DC24V安全電壓供電,有效保證系統的穩定性和安全性。目前主要廣泛應用于機場、軌道交通、隧道、客運樞紐、醫院、學校、體育館、展覽館、星級酒店、高端商業樓盤等場所。
2.AFRD100/B 防火門監控器
2.1 產品概述
防火門監控器是防火門監控系統的主機。監控器與火災自動報警系統主機聯動,在火災發生時可根據火勢蔓延,煙霧彌漫的方向,迅速發出控制指令,并通過總線,將指令發布到每個終端,控制防火門的開閉狀態,隔離火源。
2.2 產品特性
配接上位機、區域分機、現場控制等裝置,靈活構建大容量監控系統;
輸出回路可通過區域分機擴展,適應復雜多變的現代化建筑;
采用集中供電方式,為系統提供穩定可靠的DC24V電壓;
內置備用電源,主電不足,備電自動切換,有效保證系統可靠運行;
與火災報警系統聯動,一旦火災信號發出,即時關閉常開防火門;
實時監測區域內防火門的工作狀態,并顯示故障報警等信息。
2.3 產品參數

2.4 監控器面板元件布置及功能說明

2.5 軟件監控畫面


2.6 接線示意圖

3.AFRD-QYFJ區域分機
1.1.產品概述
區域分機是防火門監控系統的局部控制裝置,可對局部分區內的防火門裝置實行有效監控,其自身的狀態信息可通過總線上傳至監控主機,延長了監控器的通信距離,擴展了監控終端的數量。
1.1.產品特性
區域分機可監控防火門的開閉狀態和故障信息,并反饋給防火門監控器;
接受防火門監控器的指令,聯動關閉常開防火門;
為區域內的系統部件提供穩定可靠的DC24V安全電壓;
現場就地取消防電源為工作電源,可以靈活構建大容量防火門監控系統;
內置備用電源,主備電源自動切換,有效保證系統可靠運行;
機身小巧靈活,安裝方便。
3.3.產品參數

3.4.面板原件布置及功能說明

3.5.外形尺寸及接線端子圖

4.AFRD-DY集中電源
4.1.產品概述
集中電源是安裝在建筑物內的備用集中式應急電源裝置,應急狀態下或監控距離太遠時,可為防火門監控模塊應急供電,確保防火門監控系統的正常工作。
4.2.產品特性
為區域內的系統部件提供穩定可靠的DC24V安全電壓;
現場就地取消防電源為工作電源,可以靈活構建大容量防火門監控系統;
內置備用電源,主備電源自動切換,有效保證系統可靠運行;
機身小巧靈活,安裝方便。
4.3.產品參數

4.4.面板原件布置及功能說明

4.5.外形尺寸及接線端子圖

5.防火門監控系統其他部件一覽表

注:
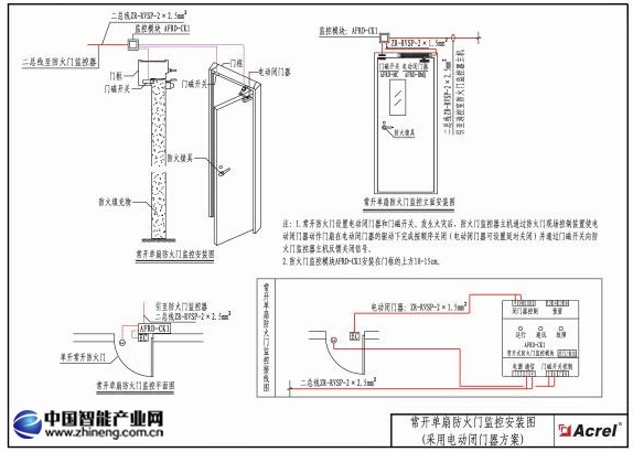
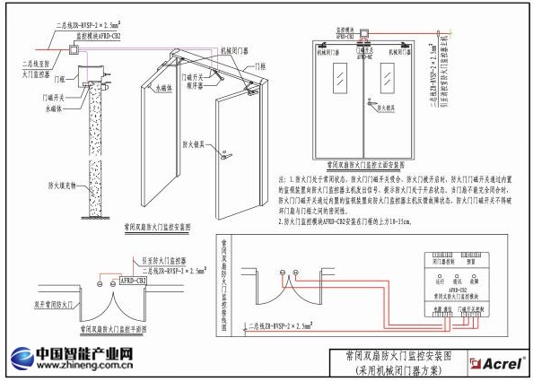
(1)常開型防火門根據防火門所在位置及開啟要求可選擇
a:普通機械閉門器++電磁釋放器+門磁開關+防火門監控模塊的方式;
b:防火門閉門器+門磁開關+防火門監控模塊的方式;
無論何種方式均可將防火門狀態通過防火門監控模塊上傳至防火門監控器,并在火警發生時 聯動常開型防火門關閉;
(2)設置常開型防火門時需保證電磁門吸或電動閉門器的供電(耗電量均為80mA);
(3)常閉型防火門只需通過門磁開關將防火門狀態通過防火門監控模塊上傳至控制器。
5.1.AFRD防火門監控模塊
5.1.1.AFRD-CK1/CK2常開單/雙扇防火門監控模塊

5.1.1.1.產品概述
用于監控常開單/雙扇防火門的工作狀態,將其狀態信息反饋至監控器;也可以通過總線將監控器的指令傳送給電磁釋放器、電動閉門器或門磁開關。
5.1.1.2.產品特性
監控防火門的開閉狀態和故障信號;
為電動閉門器和電磁釋放器提供DC24V電源,并接受反饋信號;
監控門磁開關的工作狀態;
具有自檢功能,發生故障時發出光報警,并上傳至防火門監控器;
具有遠程通訊功能,可將自身工作狀態反饋給防火門監控器;
外形精美小巧,安裝極其方便。
5.1.1.3.產品參數

5.1.1.4.外形尺寸圖

5.1.1.5.接線端子圖

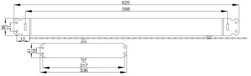
5.1.2.AFRD-CB1/2常閉單/雙扇防火門監控模塊

5.1.2.1.產品概述
用于監控常閉單/雙扇防火門的工作狀態,將其狀態信息反饋至監控器。
5.1.2.2.產品特性
· 監控防火門的開閉狀態和故障信號;
· 具有自檢功能,發生故障時發出光報警,并上傳至防火門監控器;
· 具有遠程通訊功能,可將自身工作狀態反饋給防火門監控器;
· 外形精美小巧,安裝極其方便。
5.1.2.3.產品參數

5.1.2.4.外形尺寸圖

5.1.2.5.接線端子圖

5.2.AFRD-MC門磁開關

5.2.1.產品概述
用于監視防火門的開閉狀態,并能將其狀態信息反饋至防火門監控器的裝置。
5.2.2.產品特點
· 用于監視防火門的開閉狀態及故障信息,及時反饋至防火門現場控制裝置;
· 鋅合金外殼,不銹鋼鎧甲電纜,美觀大方;
· 外形精美小巧,安裝極其方便。
5.2.3.產品參數

5.2.4.外形尺寸.

5.3.AFRD-BMQ電動閉門器

5.3.1.產品概述
能夠接收防火門監控模塊傳送的指令,并在收到指令后將處于打開狀態的防火門關閉,并將其狀態信息反饋至防火門監控器的電動裝置。
5.3.2產品特性
通過了與AFRD100/B防火門監控器進行配接的消防型式檢驗;
· 接受關門指令后自動斷電并關門;
· 反饋防火門的開閉狀態和故障信息;
· 可提供多種規格的閉門器,使用65kg、85kg、120kg、180kg門重的防火門;
· 多種安裝方式適用于不同的防火門。
· 工作電壓:DC24V
· 工作電流:80mA
· 關門方式:平時有電,斷電關門
5.3.3.產品參數

5.3.4.外形尺寸

5.4.AFRD-DC電磁釋放器

5.4.1.產品概述
用于使常開防火門保持打開狀態,在收到監控模塊的指令后釋放防火門使其關閉,并將本身的狀態信息反饋至監控器的電動裝置,其中,具有通訊功能的部分安裝在墻面上,非通訊功能的部分安裝于門上。
5.4.2.產品特點
· 通過了與AFRD100/B防火門監控器進行配接的消防型式檢驗;
· 機械結構簡單、電磁原理可靠、低壓微電流工作,使用壽命大大延長;
· 具有萬向調節吸板,安裝靈活方便;
· 可選配專用的玻璃門吸板,滿足大型商業的消防需求。
· 工作電壓:DC24V
· 工作電流:80mA
· 關門方式:平時有電,斷電關門
5.4.3.產品參數

5.4.4.外形尺寸

6.系統組網.

備注:
①當防火門監控系統所帶點數較多時,可采用區域分機分區域式監控;
②若監控距離較遠,可采用集中電源,延長供電距離;
③若所帶點數較少,可用通訊線直接給監控終端供電,若距離仍較遠,可加集中電源,延長供電
7.典型設計與應用
7.1.常開單扇防火門監控安裝圖(采用電動閉門器方案)

7.2.常開雙扇防火門監控安裝圖(采用電動閉門器方案)

7.3.常閉單扇防火門監控安裝圖(采用機械閉門器方案)

7.4.常閉雙扇防火門監控安裝圖(采用機械閉門器方案)

7.5.小型單體項目防火門監控系統圖

7.6.大型多區域項目防火門監控系統圖

7.7.公建防火門監控系統圖

7.8.公建防火門監控平面圖

8.防火門監控系統的施工、安裝與調試
系統的施工,應按照批準的工程設計文件和施工技術方案進行,不得隨意變更。如確需要變更設計時,應由原設計單位負責更改并經圖審機構審核批準。
8.1.布線
系統的布線,應符合現行國家標準GB50166《火災自動報警系統施工驗收標準》的要求;
系統總線敷設后,應對每回路的導線用500V的兆歐表測量絕緣電阻,其對地絕緣電阻不應小于20MΩ;
同一工程的導線,應根據不同用途選擇不同顏色加以區分,相同用途的導線顏色應一致,電源線正極應為紅色,負極應為藍色或黑色;
系統總線采用通訊線ZR-RVSP-2×2.5mm²(雙絞線)+NH-BV-2×2.5mm²,穿SC20銅管敷設。
8.2.監控器/區域分機/集中電源的安裝
監控器壁掛安裝時,其底邊距地面高度宜為1.3m~1.5m,其靠近門軸的側面距墻不應小于0.5m,正面操作距離不應小于1.2m;
引入監控器的電纜或導線,電纜芯線和所配導線的端部,均應表明編號,并與圖紙一致,字跡清晰不易褪色;
防火門監控器安裝在消防控制室,區域分機或集中電源箱安裝在強電豎井內。
8.3.防火門現場控制裝置的安裝
現場控制裝置輸出回路的連接線,應使用截面積不小于1.0mm²的耐火銅芯導線,并應留有不小于150mm的余量,其端部應有明顯標志;
現場控制裝置應設置在防火門內測墻面上,距門不宜超過0.5m,底邊距離地面高度宜為0.9~1.3m。
8.4.系統接地
系統接地的設計參照現行國家標準GB50116《火災自動報警系統設計規范》。
8.5.調試
系統的調試,應由建設(監理)單位組織,施工單位具體實施。應在施工安裝結束并在質量檢驗合格后進行;
調試前應具備下列技術文件:
系統圖、平面圖;
設備安裝技術文件;
變更部門的實際施工圖,變更設計的證明文件;
施工過程檢查記錄、調試記錄;
設備的使用說明書、產品檢測報告、合格證及相關材料。
調試負責人必須由專業技術人員擔任;
調試時首先應做以下工作:
對設備的規格、型號、數量、備用配件等按設計要求查驗;
對于系統線路出現錯線、開路、虛焊、短路、絕緣電阻小于20MΩ等問題,應采取相應的處理措施。
系統調試時,應先分別對現場控制裝置和監控探測器逐個進行單機通訊檢查,無故障報警、自檢燈操作時方可進行系統調試;
將所有經過調試合格的各項設備按系統設計連接組成完整的防火門監控系統,觀察并記錄所監控的防火門的實時工作狀態信息;
系統在調試無故障后,開始系統的試運行。